งานปรับปรุงและเสริมแรงอาคาร
งานปรับปรุงและเสริมแรงอาคาร

Select language

















งานปรับปรุงและเสริมแรงอาคาร
เทคโนโลยีการปรับปรุงและเสริมกำลังอพาร์ทเมนต์นักศึกษาด้วยคาร์บอนไฟเบอร์แบบทิศทางเดียวและแผ่นเหล็ก

ภาพรวมโครงการ
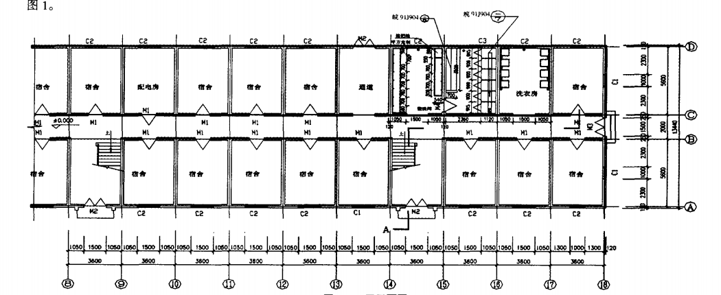
หอพักนักศึกษาแห่งนี้สร้างขึ้นเมื่อครั้งก่อตั้งมหาวิทยาลัยอานฮุย โครงสร้างเดิมมีพื้นที่ก่อสร้างรวม 234.2 ตารางเมตร เป็นอาคารคอนกรีตอิฐ 3 ชั้น พื้นเป็นคอนกรีตหล่อในที่ ใช้งานมา 40 ปี คานคอนกรีตบางส่วนของโครงสร้างเดิมถูกเผาจนเป็นถ่านจนหมด และเหล็กเส้นก็ถูกกัดกร่อนอย่างรุนแรง พื้นบางส่วนมีรอยแตกร้าวขนาดใหญ่ และความสามารถในการรับน้ำหนักไม่เพียงพอ ซึ่งส่งผลกระทบอย่างรุนแรงต่อโครงสร้าง

การตรวจสอบโครงสร้าง
หลังจากการตรวจสอบภาคสนาม พบว่าคานคอนกรีตและแผ่นพื้นของชั้น 1 และชั้น 2 ของโครงสร้างเดิมถูกเผาจนเป็นถ่านอย่างสมบูรณ์ เหล็กเส้นถูกกัดกร่อนอย่างรุนแรง และความสามารถในการรับน้ำหนักไม่เพียงพอ มีรอยแตกร้าวแนวทแยงมุมค่อนข้างใหญ่ที่มุมแผ่นพื้นบางส่วน จึงต้องมีการเสริมแรงบางส่วนสำหรับส่วนที่มีความสามารถในการรับน้ำหนักไม่เพียงพอ เพื่อความปลอดภัยในการใช้งานหลังจากการปรับปรุงโครงสร้างเดิม
งานปรับปรุงและเสริมกำลังอาคาร
หลังคาชั้น 1 และคานหลังคาชั้น 2 มีรอยแตกร้าวและมีความต้านทานแผ่นดินไหวไม่เพียงพอ จึงต้องเสริมส่วนที่กล่าวมาข้างต้น
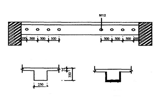
1) พื้นเสริมคาร์บอนไฟเบอร์
พื้นปูเสริมด้วยผ้าคาร์บอนไฟเบอร์กว้าง 100 มม. @ การจัดวางตาข่ายด้านล่างของพื้นปู 300 รอบ
2) ปลอกเหล็กของคาน
ใช้แผ่นเหล็กหนา 10 มม. เสริมความแข็งแรงคานคอนกรีตทั้ง 3 ด้าน

บทสรุป
การเปลี่ยนแปลงการใช้งานอาคารหรือการเพิ่มอุปกรณ์ย่อมต้องอาศัยการปรับเปลี่ยนโครงสร้างและการเสริมกำลังอย่างหลีกเลี่ยงไม่ได้ ในการออกแบบการบูรณะและเสริมกำลัง ควรพิจารณาคุณลักษณะของโครงสร้างเดิมและความต้องการของเจ้าของอาคารอย่างถี่ถ้วน แผนการฟื้นฟูและเสริมกำลังควรออกแบบให้สอดคล้องกับสภาพพื้นที่ และพิจารณาความเป็นไปได้ในการก่อสร้าง