การสร้างความแข็งแกร่ง
คาร์บอนไฟเบอร์ (CFRP)
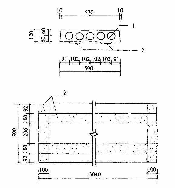
การใช้ผ้าคาร์บอนไฟเบอร์ (CFRP) ที่ยึดติดภายนอกกับพื้นด้านล่าง ช่วยเพิ่มความสามารถในการรับน้ำหนักของพื้น และลดการเสียรูปของพื้นกลวง

ภาพรวมโครงการ
อาคารพักอาศัยของโรงไฟฟ้าเป็นโครงสร้างคอนกรีตผสมอิฐสูง 6 ชั้น ใช้แผ่นพื้นกลวงคอนกรีตอัดแรง ซึ่งสร้างเสร็จและเริ่มใช้งานในเดือนธันวาคม พ.ศ. 2528 ก่อนปี พ.ศ. 2539 ได้มีการใช้งานตามปกติ และพบรอยแตกร้าวในบางชั้นหลังจากนั้น ความกว้างของรอยแตกร้าวอยู่ในช่วง 0.4 ถึง 1.0 มม.
มีสองสาเหตุที่ทำให้เกิดรอยร้าว:
ในระหว่างการใช้งานหลายปี การบีบอัดฐานรากจะทำให้เกิดการทรุดตัวที่ไม่สม่ำเสมอในระดับหนึ่ง
ในช่วงไม่กี่ปีที่ผ่านมา เนื่องจากความนิยมของเฟอร์นิเจอร์ตกแต่งบ้านที่เพิ่มขึ้น ทำให้บางครอบครัวต้องปรับปรุงบ้าน ซื้อเฟอร์นิเจอร์ใหม่ ปูกระเบื้องหรือแผ่นหินอ่อน ส่งผลให้พื้นรับน้ำหนักมากเกินไปจนเกิดรอยแตกร้าว รอยแตกร้าวส่งผลกระทบอย่างรุนแรงต่อความสามารถในการรับน้ำหนักและความแข็งแรงของพื้น จึงต้องเสริมความแข็งแรงให้กับพื้นเดิม
ตามความต้องการของผู้อยู่อาศัย ห้องพักจะได้รับการบูรณะให้กลับสู่สภาพเดิมหลังจากเสริมความแข็งแรงของพื้น ซึ่งจะไม่ส่งผลกระทบต่อการใช้งานและอายุการใช้งานปกติของผู้อยู่อาศัย ด้วยเหตุนี้ หลังจากการศึกษาและวิเคราะห์มากมาย จึงตัดสินใจใช้การฉีดรอยแตกร้าวและการวางคาร์บอนไฟเบอร์ความแข็งแรงสูง (CFRP) ในด้านหนึ่ง การยาแนวจะใช้เพื่อปิดรอยต่อ ปิดกั้นการผ่านของสารอันตรายที่กัดกร่อนเหล็กเส้น และยึดคอนกรีตที่แตกร้าวเพื่อให้พื้นโดยรวมแข็งแรงและเพิ่มความทนทาน ในทางกลับกัน การใช้วัสดุเส้นใยที่ไม่ใช่โลหะความแข็งแรงสูง (เช่น คาร์บอนไฟเบอร์ ไฟเบอร์กลาส ฯลฯ) มีข้อดีคือมีความแข็งแรงสูง ประสิทธิภาพสูง ทนต่อการกัดกร่อน น้ำหนักเบา ก่อสร้างง่าย และอื่นๆ การติดผ้าคาร์บอนไฟเบอร์ที่ด้านล่างของพื้นจะช่วยเพิ่มความสามารถในการรับน้ำหนักของพื้น และลดการเสียรูปของพื้นกลวง

การเสริมความแข็งแกร่งด้วยโพลีเมอร์เสริมคาร์บอนไฟเบอร์ (CFRP)
ติดผ้าคาร์บอนไฟเบอร์กว้าง 100 มม. สองผืนตามแนวยาวของพื้นเพื่อเสริมประสิทธิภาพเชิงกลของพื้น และติดผ้าคาร์บอนไฟเบอร์กว้าง 100 มม. ไว้ที่ปลายผ้าเพื่อเสริมความแข็งแรงให้กับจุดยึดปลายผ้า ผ้าคาร์บอนไฟเบอร์แต่ละผืนจะติดสองชั้น
ผลการเสริมแรงโครงสร้าง
หลังจากเสริมความแข็งแรงด้วยคาร์บอนไฟเบอร์เป็นเวลา 1 ปี พันธะระหว่างผ้าคาร์บอนไฟเบอร์และพื้นก็มีคุณภาพดี และไม่มีการหลุดลอกระหว่างกาวโครงสร้าง ผ้าคาร์บอนไฟเบอร์ และคอนกรีต และพื้นก็ไม่มีรอยแตกร้าว
บทสรุป
(1) เทคโนโลยีเสริมแรงคอมโพสิตคาร์บอนไฟเบอร์เป็นเทคโนโลยีเสริมแรงรูปแบบใหม่ที่เกิดขึ้นในช่วงไม่กี่ปีที่ผ่านมา ผ้าคาร์บอนไฟเบอร์มีอัตราส่วนความแข็งแรงต่อน้ำหนักสูง ทนทานต่อการกัดกร่อนดีเยี่ยม น้ำหนักเบา และแทบไม่เพิ่มภาระโครงสร้าง การใช้ผ้าคาร์บอนไฟเบอร์เสริมแรงโครงสร้างคอนกรีตเสริมเหล็กสามารถเพิ่มความสามารถในการรับน้ำหนักของส่วนประกอบได้อย่างมีประสิทธิภาพ เสริมสร้างความสมบูรณ์และความทนทานของโครงสร้าง และปลอดภัยและเชื่อถือได้
(2) กระบวนการก่อสร้างของผ้าคาร์บอนไฟเบอร์นั้นง่ายและรวดเร็ว ระยะเวลาก่อสร้างสั้น หลังจากทาสารประสานลงบนผ้าคาร์บอนไฟเบอร์แล้ว ก็สามารถฉาบปูนได้โดยตรง ซึ่งสะดวกต่อการใช้งานในขั้นตอนต่อไป ดังนั้น วิธีการเสริมแรงด้วยผ้าคาร์บอนไฟเบอร์จึงมีข้อดีมากกว่าวิธีอื่นๆ และได้รับความนิยมอย่างมาก
(3) วัสดุคาร์บอนไฟเบอร์ต้องรับแรงกดแบบทิศทางเดียว ซึ่งสอดคล้องกับแรงกดของส่วนประกอบโครงสร้างของโครงการนี้ จึงเป็นวิทยาศาสตร์และสมเหตุสมผลมากกว่า
(4) โปรดทราบว่าคาร์บอนไฟเบอร์สามารถนำมาใช้เสริมแรงดัด แรงเฉือน และแรงแผ่นดินไหวของโครงสร้างคอนกรีตได้ แต่ไม่เหมาะสำหรับชิ้นส่วนคอนกรีตที่มีรอยแตกร้าวรุนแรงเนื่องจากการเสียรูปมากเกินไปเนื่องจากความแข็งไม่เพียงพอ ถึงแม้ว่าคาร์บอนไฟเบอร์จะมีบทบาทในการเสริมแรงแบบบิด แต่ก็ไม่คุ้มค่าทางเศรษฐกิจ ดังนั้น เมื่อใช้วิธีเสริมแรงด้วยคาร์บอนไฟเบอร์ ควรวิเคราะห์ตามลักษณะความเค้นของโครงสร้างและพิจารณาถึงข้อดีข้อเสีย